电子轰击型有源像素传感器(EBAPS)研究进展

Research Progress of an Electron Bombarded Active Pixel Sensor

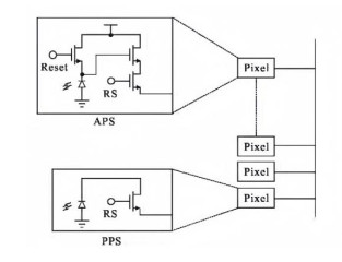
  • 摘要: 电子轰击型有源像素传感器(electron bombarded active pixel sensor, EBAPS)是一种电子轰击型的数字化微光器件,低功耗、高灵敏度、适用于极低照度探测。本文从EBAPS原理出发,以传感器阴极、阳极内部结构为着手点,阐述EBAPS从光信号输入到数字图像输出的工作过程,分析EBAPS光学系统的结构特点,结合Intevac公司系列EBAPS产品综述EBAPS的发展迭代与应用。最后,总结影响EBAPS传感器性能的各方面因素并展望器件的发展趋势。

     

    Abstract: An electron bombarded active pixel sensor(EBAPS) is a novel, digital low-light device characterized by its low power consumption, high sensitivity, and suitability for extreme low-light detection. This study begins with the principles of the EBAPS, focusing on the internal structure of the sensor's cathode and anode to elucidate the working process of the EBAPS from its input of optical signals to its output of digital images. This study further analyzes the structural features of the EBAPS optical system and, combined with a series of EBAPS products from the Intevac Corporation, reviews the development iterations and applications of the EBAPS. Finally, this study summarizes the various factors affecting the performance of EBAPS sensors and discusses the development trends of such devices.

     

/

返回文章
返回